ads/auto.txt

Gambar Rangkaian Lampu Kepala Pada Mobil

3 Jenis Rangkaian Lampu Kepala Pada Mobil Dan Motor Autoexpose

3 Jenis Rangkaian Lampu Kepala Pada Mobil Dan Motor Autoexpose

Sistem Penerangan Lampu Kepala Rangkaian Komponen Dan Cara Kerja Rangkaian Lampu Kepala Pada Mobil Sahabat Ilmu

Sistem Penerangan Lampu Kepala Rangkaian Komponen Dan Cara Kerja Rangkaian Lampu Kepala Pada Mobil Sahabat Ilmu

Rangkaian Lampu Kepala Pengendali Negatif Dengan Relay Teknik Otomotif Com

Rangkaian Lampu Kepala Pengendali Negatif Dengan Relay Teknik Otomotif Com

Dimensi Tkr Rangkain Sistem Kelistrikan Bodi

Dimensi Tkr Rangkain Sistem Kelistrikan Bodi

Fungsi Dan Rangkaian Kelistrikan Lampu Kota Pada Kendaraan Teknik Otomotif Com

Fungsi Dan Rangkaian Kelistrikan Lampu Kota Pada Kendaraan Teknik Otomotif Com

Komponen Dan Diagram Kelistrikan Sistem Penerangan Lampu Kepala Utama Pada Mobil Teknik Otomotif Com

Komponen Dan Diagram Kelistrikan Sistem Penerangan Lampu Kepala Utama Pada Mobil Teknik Otomotif Com

Komponen Dan Diagram Kelistrikan Sistem Penerangan Lampu Kepala Utama Pada Mobil Teknik Otomotif Com

Jenis sealed beam banyak dipakai pada kendaraan yang kostruksinya filamen kaca dan reflektornya menjadi satu kesatuan.

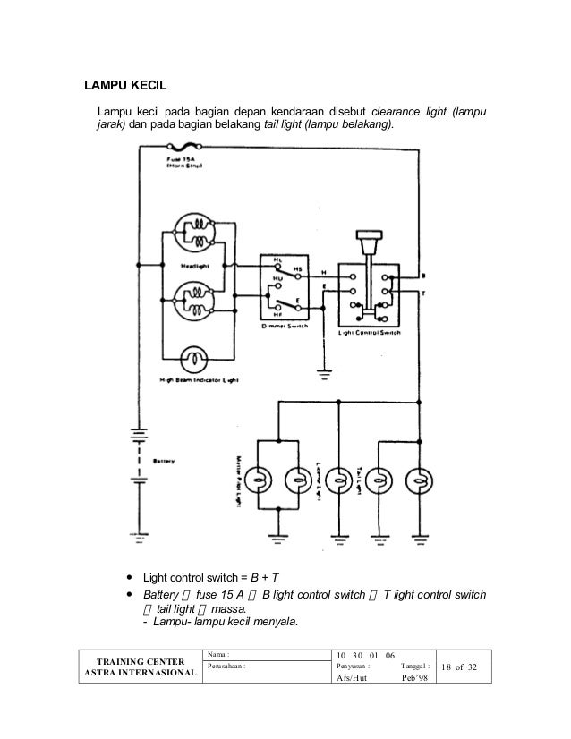
Gambar rangkaian lampu kepala pada mobil. Clearance light ditujukan untuk lampu kota bagian depan yang berfungsi sebagai pemberi isyarat kepada pengemudi. Cara kerja dan gambar rangkaian lampu kota tail light setelah pada kesempatan sebelumnya kita sudah membahas tentang fungsi lampu kota sekarang kita akan membahas ke tingkat yang lebih tinggi ceileh. Rangkaian lampu sein salah satu aspek dalam berkendaran adalah keselamatan sementara itu sistem keselamatan pada mobil juga dibagi menjadi beberapa macam termasuk active safety dan pasive safety. Lampu kepala menyala bersamaan dengan lampu belakang melalui saklar tarik atau putar.

Contoh sederhana adalah lampu. Lampu kepala pada mobil tidak dilewatkan kunci kontak dan biasanya menggunakan tipe pengendali positif yang artinya arus dari postif baterai langsung menuju ke saklar pengontrol lampu. Analisis kerusakan pada lampu kepala pada mobil sistem penerangan pada mobil atau kendaraan merupakan hal yang penting agar pengemudi tetap dapat melihat kondisi yang ada di depan saat kondisi gelap. Lampu kota mempunyai dua nama keren yaitu clearance light dan tail light.

Fungsi sebuah sekring pada rangkaian lampu kepala adalah sebagai protektor atau pengaman terhadap kerusakan rangkaian kelistrikan terhdap hubungan singkat yang terjadi. Fungsi sekring pada mobil dan jenis jenisnya. Rangkaian lampu kepala pengendali negatif dengan relay teknik lampu kepala dan lampu kota pada kendaraan merupakan bagian dari sistem penerangan yang ada pada kendaraan. Lampu masuk kedalam sistem elektrikal karena bekerja dengan prinsip perpindahan elektron.

Untuk lebih jelasnya bisa dilihat pada gambar relay 4 kaki dibawah ini. Sistem lampu besar kepala merupakan lampu penerangan yang berfungsi untuk menerangi jalan dibagian depan kendaraan terutama pada malam hari. Cara kerja rangkaian lampu kepala pada mobil d. Rangkaian kelistrikan mobil meski awalnya mobil merupakan benda mekanikal yang dapat bergerak karena proses mekanis pada mesin dan powertrain tak bisa dipungkiri keberadaan komponen kompenen elektrik pada sebuah mobil menjadi kebutuhan wajib.

Wiring harness atau kabel merupakan penghubung dan penyalur arus listrik dari satu komponen ke komponen lain pada rangkaian kelistrikan lampu kepala. Komponen rangkaian lampu kepala pada mobil c. Berikut ini gambar rangkaian lampu kepala beserta cara kerjanya. Pada umumnya lampu besar kepala ini dilengkapi dengan lampu jarak jauh dan lampu dekat high beam dan low beam dan dapat dihidupkan dari salah satu switch oleh dimmer switch.

Lampu kepala yang dipakai ada dua tipe yaitu tipe sealed beam dan bola lampu. Untuk mengenal lebih jauh masalah sekring baca. Di bawah ini diperlihatkan rangkainan kelistrikan lampu kepala yang menggunakan pengendali positif.

Fungsi Lampu Kepala Dan Fungsi Reflektor Serta Kaca Bias Lampu Kepala Teknik Otomotif Com

Fungsi Lampu Kepala Dan Fungsi Reflektor Serta Kaca Bias Lampu Kepala Teknik Otomotif Com

Penyebab Lampu Chg Indikator Pengisian Menyala Terus Saat Mesin Hidup Teknik Otomotif Com

Penyebab Lampu Chg Indikator Pengisian Menyala Terus Saat Mesin Hidup Teknik Otomotif Com

Membuat Lampu Depan Motor Lebih Terang Lebih Awet Mudah Autoexpose

Membuat Lampu Depan Motor Lebih Terang Lebih Awet Mudah Autoexpose

Rangkaian Lampu Sein Dan Hazard Di Mobil Ombro

Rangkaian Lampu Sein Dan Hazard Di Mobil Ombro

Wiring Diagram Lampu Dekat Diagram Base Website Lampu Dekat Hrdiagram Recht Dd De

Wiring Diagram Lampu Dekat Diagram Base Website Lampu Dekat Hrdiagram Recht Dd De

Rangkaian Lampu Tanda Belok Dan Lampu Hazard Otomotif Mobil

Rangkaian Lampu Tanda Belok Dan Lampu Hazard Otomotif Mobil

Sistem Penerangan Pendidikan Teknik Otomotif Um Purworejo Sistem Penerangan Pendidikan Teknik Otomotif Um Purworejo

Sistem Penerangan Pendidikan Teknik Otomotif Um Purworejo Sistem Penerangan Pendidikan Teknik Otomotif Um Purworejo

Rangkaian Kelistrikan Lampu Tanda Belok Atau Sein Teknisimobil Com

Rangkaian Kelistrikan Lampu Tanda Belok Atau Sein Teknisimobil Com

Kelistrikan Body Guru

Kelistrikan Body Guru

Rangkaian Lampu Kepala Mobil Komponen Dan Fungsinya Ombro

Rangkaian Lampu Kepala Mobil Komponen Dan Fungsinya Ombro

Fungsi Dan Cara Kerja Sistem Kontrol Lampu Otomatis Teknologi

Fungsi Dan Cara Kerja Sistem Kontrol Lampu Otomatis Teknologi

Contoh Soal Dan Contoh Pidato Lengkap Gambar Rangkaian Tanda Belok

Contoh Soal Dan Contoh Pidato Lengkap Gambar Rangkaian Tanda Belok

Led Untuk Tegangan 9v Pembelajaran Online Guru Elektronik Electronics Projects Rangkaian Elektronik Elektronik

Led Untuk Tegangan 9v Pembelajaran Online Guru Elektronik Electronics Projects Rangkaian Elektronik Elektronik

Contoh Soal Dan Contoh Pidato Lengkap Gambar Rangkaian Lampu Kepala Dengan 2 Relay

Contoh Soal Dan Contoh Pidato Lengkap Gambar Rangkaian Lampu Kepala Dengan 2 Relay

Source : pinterest.com